Installing Wired Video Doorbell Pro (3rd Gen)
View or download the manual for Wired Video Doorbell Pro (3rd Gen) HardwiredHardware included
Tools included

Removal Tool
Tools needed

Phillips-head screwdriver

Drill with a 1/4 in (6 mm) masonry bit (optional)
1. Download the Ring app.

2. Scan the QR code.

3. Remove the protective wrap.

Doorbell installation
1. Shut off power at the breaker.
NOTE: If you are unsure which breaker to flip, turn off the master breaker or contact an electrician.

CAUTION! You’ll be working with electrical wires during the install process. If you encounter damaged or unsafe wiring, or if you are unsure, uncomfortable, or inexperienced, please consult with a licensed electrician.
For Australian and New Zealand Customers Installation and wiring must be performed by a licensed electrician.
2. Remove your doorbell chime’s cover.

3. Disconnect the wires attached to your chime.

4. Use the included wire nut to connect the wires together.
5. Re-attach your chime’s cover.

6. Locate the existing doorbell transformer.

7. Install the included transformer.
(Optional) Remove the transformer from its housing unit.
8. Connect power to the bottom L & N terminals and the doorbell to positive & negative terminals (doorbell wires can go in either terminal).
9. (Optional) If using a corner mount, install the mount over your doorbell wires using the bottom holes in the top and bottom sections, ensuring it is facing in your desired viewing direction.

On stucco, brick, or concrete, use a 6 mm (1/4 in) masonry bit to drill holes for the included wall anchors.

(Optional) If using a wedge mount, install the mount over your doorbell wires using the screws included with your wedge kit, ensuring it is facing down.

On stucco, brick, or concrete, use a 6 mm (1/4 in) masonry bit to drill holes for the included wall anchors.

10. (Optional) If installing multiple wedge or corner mounts, insert screws through both mounts to hold them together.

11. Install the mounting bracket on your mount or directly over the doorbell wiring with the included screws.

12. Remove your doorbell’s faceplate by inserting the removal tool into the slot at the bottom of your doorbell.


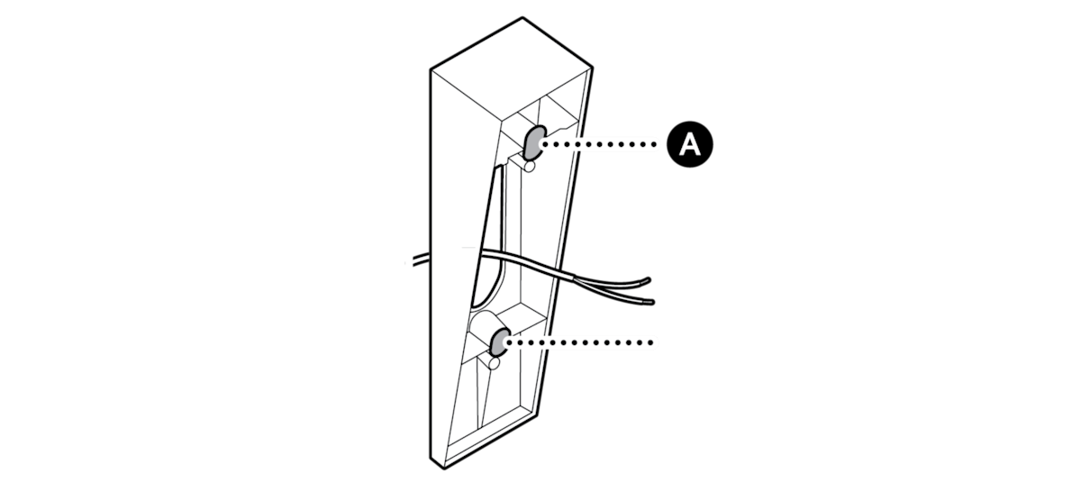
13. Attach the included fork connectors to your doorbell wiring with wire nuts.

14. Connect the fork connectors to your doorbell’s wire terminals.

15. Mount your doorbell by hooking it over the bracket and pushing down.

16. Tighten the security screw.

17. Restore power at the breaker.

18. Ring your doorbell to ensure everything is properly connected.
19. Reattach the faceplate.








