Kantelmontageset voor Wired Video Doorbell Plus (2de generatie) installeren
Bekijk de handleiding voor de kantelmontageset voor Wired Video Doorbell Plus (2de generatie)Krijg stapsgewijze installatie-instructies voor de kantelmontageset voor Wired Video Doorbell Plus (2de generatie).
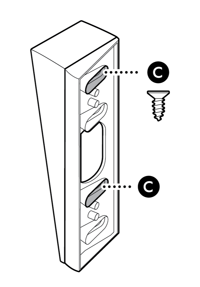
Inbegrepen hardware
Benodigd gereedschap

Kruiskopschroevendraaier

Boor met een steenboortje van 6 mm (optioneel)
1. Raadpleeg de installatiehandleiding van de deurbel om de plaats van de installatie voor te bereiden.
2. Gebruik indien nodig de kantelmontagebeugel als richtlijn om de plaats van de schroeven op de muur te markeren.

LET OP: markeer beide bovenste of beide onderste gaten, afhankelijk van de gewenste installatielocatie.
3. Installeer de beugel over de deurbeldraden of aan de muur met de inbegrepen schroeven en zorg ervoor dat de beugel naar beneden is gericht.

Bij muren van stucwerk, baksteen of beton gebruik je een steenboortje van 6 mm om de gaten voor de inbegrepen pluggen te boren.

4. Als je meerdere kantel- en hoekmontagebeugels installeert, steek je de inbegrepen schroeven door beide beugels om ze bij elkaar te houden.
LET OP: we raden aan om er maximaal twee te gebruiken.





5. Plaats de bevestigingssteun van je deurbel over de beugel.


6. Raadpleeg de installatiehandleiding van de deurbel om de installatie af te ronden.

