Installazione del kit con cunei per Wired Video Doorbell Plus (2ª gen.)
Consulta il manuale del kit con cunei per Wired Video Doorbell Plus (2ª gen.)Istruzioni dettagliate per l'installazione del kit con cunei per Wired Video Doorbell Plus (2ª gen.).
Materiali per l’installazione inclusi
Strumenti richiesti

Cacciavite con punta a croce

Trapano con punta per muratura da 6 mm (facoltativo)
1. Fare riferimento alla guida all’installazione del videocitofono per preparare l’area di installazione.
2. Utilizzare il supporto a cuneo come guida per segnare la posizione dei fori per le viti sulla parete, se necessario.

NOTA: contrassegnare entrambi i fori superiori o inferiori, a seconda della posizione di installazione desiderata.
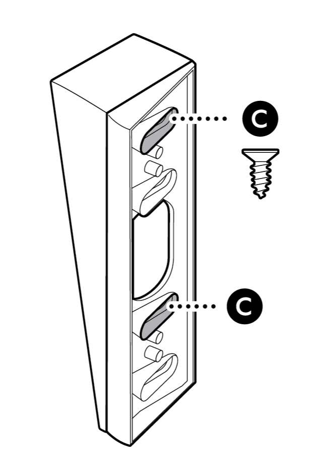
3. Installare il supporto sui fili del videocitofono o sulla parete con le viti incluse, assicurandosi che sia rivolto verso il basso.

Per superfici in stucco, mattoni o cemento, utilizzare una punta da trapano per muratura da 6 mm per praticare i fori per i tasselli inclusi.

4. Per l’installazione di più supporti a cuneo o ad angolo, inserire le viti incluse attraverso entrambi i supporti per tenerli uniti.
NOTA: si consiglia di non utilizzarne più di due.





5. Fissare la staffa per il montaggio del videocitofono sul supporto.


6. Fare riferimento alla guida all’installazione del videocitofono per completare la configurazione.

