Instalación del kit de ajuste para Wired Video Doorbell Plus (2.ª generación)
Ver el manual del kit de ajuste para Wired Video Doorbell Plus (2.ª generación)Obtén instrucciones de instalación detalladas para tu kit de ajuste para Wired Video Doorbell Plus (2.ª generación).
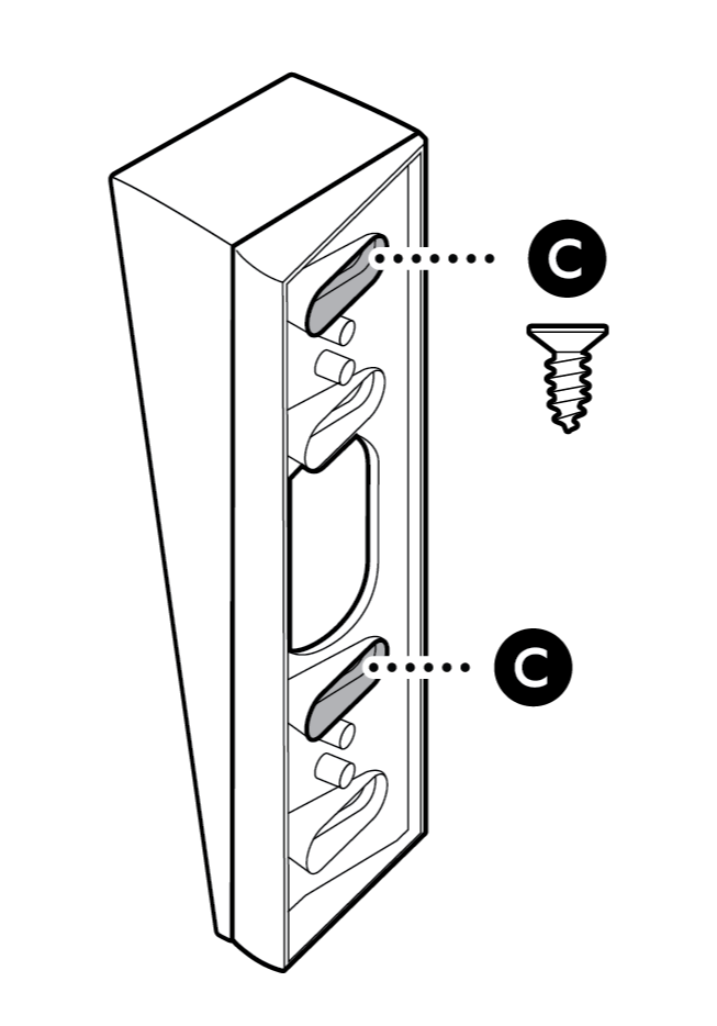
Piezas incluidas
Herramientas necesarias

Destornillador de estrella

Taladro con broca de albañilería de 6 mm (opcional)
1. Consulta la guía de instalación del videotimbre para preparar el lugar de la instalación.
2. Utiliza el soporte de ajuste como guía para marcar en la pared los orificios en los que irán introducidos los tornillos, si es necesario.

NOTA: marca ambos orificios superiores o ambos orificios inferiores, en función del lugar en el que quieras proceder a la instalación.
3. Instala el soporte sobre el cableado del videotimbre o en la pared con los tornillos incluidos, asegurándote de que esté orientado hacia abajo.

En estuco, ladrillo u hormigón, utiliza una broca de albañilería de 6 mm para perforar los orificios en los que irán introducidos los tacos de pared incluidos.

4. Si instalas varios soportes de ajuste o en esquina, debes introducir los tornillos incluidos en todos ellos para que no se separen.
NOTA: no recomendamos instalar más de dos.





5. Coloca el soporte de montaje del videotimbre sobre el soporte de ajuste o en esquina.


6. Consulta la guía de configuración del videotimbre para completar el proceso.

